AL-KO Stützrad Premium mit Stützlastanzeige

Jeder hat es am Wohnwagen montiert und die meisten müssen Ihres im Wohnwagenleben auch nicht tauschen.

Warum wir aber ein neues benötigen und warum wir uns für dieses Modell entschieden haben, lest ihr hier!

23.04.2026

einleitung

Nachdem uns leider beim Movern aus der Einfahrt zu Hause das Stützrad verkantete und dadurch irreparabel defekt ging, musste ein neues her… Relativ schnell und nach kurzer Marktrecherche fiel dann die Wahl auf das AL-KO Premium Deichselstützrad mit Wiegefunktion.

Gut, eine Stützlastwaage hätten wir auch so gehabt, aber die Sichtbarkeit direkt am Stützrad ist schon eine nützliche Funktion…

Features / Beschreibung

Das AL-KO Premium Stützrad ist ein hochwertiges Zubehör für Caravans und Anhänger, das vor allem durch seine integrierte Waage zur Stützlastmessung und eine Schwingarmfederung überzeugt.
 
Wichtige Merkmale & Vorteile
  • Integrierte Stützlastanzeige: Die Radlastwaage ermöglicht eine direkte Kontrolle der Beladung ohne externe Waage.
  • Schwingarmfederung: Gleicht Bodenunebenheiten (z. B. Bordsteinkanten) aus und schont die Deichsel sowie den Rangierantrieb (Mover).
  • Ergonomische Kurbel: Besonders leichtgängig dank eingebautem Drucklager; für zusätzlichen Diebstahlschutz abnehmbar.
  • Breites Vollgummirad: Das ballige Rad (230×80 mm) bietet eine große Aufstandsfläche auf weichem Untergrund und erleichtert das Rangieren.
  • Hohe Tragkraft: Statisch bis zu 300 kg und dynamisch (im Rangierbetrieb) bis zu 180 kg belastbar.
 
Technische Details
  • Rohrdurchmesser: 48 mm.
  • Material: Stahl (feuerverzinkt für hohen Korrosionsschutz) und Vollgummi-Bereifung.
  • Gewicht: ca. 9,8 kg.

Montageanleitung

Auch hier als PDF-Datei zum Download

Ausbau

Für jeden, der schon einmal ein Rad am Auto gewechselt hat, dürfte das kein Problem darstellen und ist in wenigen Minuten erledigt.

Schritt 1 – Sichern:
Wie immer, an oberster und erster Stelle steht das (Ab)sichern: also:
– Handbremse anziehen
– Räder gehen Wegrollen sichern

Schritt 2 – Stützrad hochkurbeln
Sofern noch möglich: das Stützrad möglichst weit ausfahren, um den Bug des Wohnwagens möglichst hoch zu bekommen. In unserem Fall (durch den Bruch der Kurbel) war dies leider nicht mehr möglich… daher ging es für uns direkt weiter zu Schritt 3

Schritt 3- Wohnwagen aufbocken
Falls der Hub nicht reicht – oder die Kurbel defekt ist – kann man einen handelsüblichen Wagenheber, der meist für mehr Lasten ausgelegt ist, als der Wohnanhänger wiegt, verwenden und an der Deichsel ansetzen.

Ein Stützbock zum Unterstellen unter der Deichsel ist ebenfalls sehr ratsam, denn Wagenheber sind nicht für dauerhafte Lasten geeignet und könnten nachgeben.

Schritt 4 – Stützen
Die Stützfüße des Wohnwagens entsprechend absenken. Hierbei bitte beachten:
1. die Stützen sind STÜZEN und keine HEBER. Der Wohnwagen sollte also nicht mit den 4 Stützfüßen hochgekurbelt werden, sondern diese sollten nur leichten Druck auf den Boden ausüben.
2. Nicht die maximale Kurbelhöhe überschreiten – hier lohnt sich ein Blick unter den Wohnwagen, um zu prüfen, wieviele Umdrehungen das Gewinde noch hergibt.

Einbau

Der Einbau gestaltet sich im Prinzip genau so einfach wie der Ausbau – nur anders herum… allerdings mit der ein oder anderen kleinen Besonderheit…

Schritt 1:
Als erstes solltet ihr natürlich das neue Stützrad entpacken und auf mögliche Mängel / Schäden und Vollständigkeit kontrollieren. Wenn alles ok ist, geht’s auch schon weiter mit dem nächsten Schritt.

Schritt 2:
Zum leichteren Einfädeln des Stützrades von unten durch die Deichsel lässt sich praktischerweise die Kurbel entfernen. Hierzu zieht ihr den Sicherungsknopf nach hinten, also von der Kurbel weg.


Schritt 3:
Jetzt könnt ihr auch schon das Stützrad von unten durch die Öffnung führen und mit dem Feststellhebel wieder festziehen.

Bitte beachten: das Stützrad sollte nach hinten (also in Richtung des Wohnwagens) zeigen, nicht in Richtung des PKWs, damit man im weiteren Verlauf gleich die Radlastanzeige richtig messen kann.

Schritt 4:
Setzt nun die Kurbel oben auf – diese sollte hörbar einrasten. Überprüft nochmals den festen Sitz.

Schritt 5:
Kurbelt nun das Stützrad aus, bis es Bodenkontakt hat

Schritt 6:
Entfernt nun den Unsterstellbock.

Schritt 8:
Kurbelt nun die Stützfüße des Wohnwagens wieder hoch

Schritt 9:
Bringt die Deichsel in eine annähernd waagerechte Position bzw. passend zur Höhe eurer Anhängerkupplung

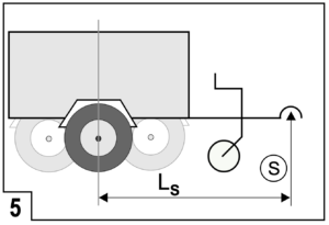
sTützradanzeige berechnen

Die Berechnung ist recht einfach, wenn man einmal verstanden hat, wie es funktioniert. Die Beschreibung in der Bedienungsanleitung von AL-KO ist hier aber sehr detailliert und lässt eigentlich keine Fragen offen.

Vorbereitung:

Um möglichst genaue Werte zu bekommen, solltet ihr auf einer möglichst ebenen Fläche stehen.

Schritt 1:
Ermittelt folgende 4 Werte:

  • Maximale Stützlast des PKW (zu finden im PKW-Fahrzeugschein) -> bei mir: 125 kg
  • Maximale Stützlast der Zugdeichsel am Anhänger (zu finden auf dem Typschild, Punkt 0) -> bei mir: 100 kg

Der KLEINSTE Wert ist dann die maximale Stützlast (S) des Anhängers, bei mir also 100 kg

Schritt 2:

Als erstes messt ihr nun den Abstand Mitte Rad bis Mitte Kugelkupplung (Ls) in cm und notiert diesen Wert – bei mir: 453 cm.

Schritt 3:
Nun nehmt ihr noch das Maß Mitte Rad bis Mitte Stützrad (Lr) in cm und notiert diesen Wert – bei mir: 385 cm.

Schritt 4:
Die Berechnung ist nun wie folgt:



Max. Stützlast in kg (Wert S aus Schritt 1) x Ls in cm (aus Schritt 2) / Lr in cm (aus Schritt 3) = Stützlast (R)

In meinem Fall:
100 (kg) x 453 (cm) / 385 (cm) = 118 (kg) Stützlast

Schritt 5:
Mit einem wasserfesten Stift könnt ihr diesen Wert dann auf der Skala am Stützrad markieren.

 

Das ganze habe ich dann einmal mit einer externen Stützlastwaage (AT SensoTec) kontrolliert und der Wert stimmt nahezu überein, d.h. die Anzeige am Stützrad ist ziemlich genau – der einzige Wehrmutstropfen ist die Ablesbarkeit und Skala (10 kg-Schritte). Hier bekommt man nur einen Näherungswert, um wieviel Kg man überladen ist oder wieviel Kg man noch zuladen kann.

Ich würde daher für genaue Werte immer auf eine digitale Stützradwaage zurückgreifen (Kauf-Link dazu unten!)

Fazit

Wir sind super zufrieden mit dem neuen Stützrad. Im Gegensatz zum alten "Standard"-Stützrad bietet es einige nette Features, wie die wesentlich höhere Tragfähigkeit von 180kg im Rangierbetrieb (und max. 300kg im Stand), die Schwingarmdämpfung, die integrierte Radlastanzeige und die Möglichkeit, das Stützrad bei Bedarf zu entfernen. Auch bietet die abehmbare Kurbel einen gewissen "Diebstahlstutz". 
 Das Mehrgewicht zu einer "Standard-Kurbel" von ca. 3-4 kg und den Preis von aktuell ca. 150 EUR kann man aus meiner Sicht gerne in Kauf nehmen.

Wem das jetzt zu viel Theorie war oder er einzelne Schritte nochmals in "Bild und Ton" sehen und hören möchte:
Schaut euch gerne einmal dazu unser YouTube-Video an!

produktliste:

AL-KO Stützrad Premium

(Partner-/Affiliate-Link)

AT SensoTec Stützlastwaage

(Partner-/Affiliate-Link)

Wir haben sämtliche Artikel selbst erworben und wurden weder vom Hersteller der gezeigten Produkte, noch vom Händler / Vertreiber in irgendeiner Art und Weise gesponsert! Unsere Bewertung und Meinung ist daher nicht beeinflusst und resultiert ausschließlich auf unseren eigenen Erfahrungen! Wir posten hier nur Sachen, hinter denen wir auch stehen und die wir guten Gewissens weiterempfehlen können.

Beim Kauf des Produktes über den Partner- bzw. Affiliate-Link erhalten wir eine kleine Provision, mit der wir die Server- und Hostingkosten reduzieren und die Seite weiterhin werbe- und bannerfrei betrieben können. Der Kaufpreis ändert sich für euch jedoch nicht! Vielen Dank für euer Verständnis!

Beitrag teilen:  

Wollt ihr wissen, was wir noch so mit auf Reisen nehmen- als Grundausstattung zum Camping im Wohnwagen?

Unsere Camping- und Wohnwagen-Grundausstattung – über 100 Teile in 13 Kategorien!

Hier gehts zu unseren Blogseiten:

Berichte zu Reisen, Ausflugszielen,
Camping- & Stellplätzen

Zubehör(-teile) und Veränderungen am Wohnwagen

Tipps & Tricks,
Lifehacks

Copyright 2026 by CampingAuszeit. Alle Rechte vorbehalten.

Consent Management Platform von Real Cookie Banner